全国免费热线
0510-8321 7886
0510-8321 7886
电话:0510-83217886 0510-83217186 0510-68771119 0510-68771110 传真:0510-83206086 地 址:无锡市滨湖区梅园
MBY系列减速器采用了现代齿轮设计制造技术,吸取了国内外同类产品的优点,总结了国内设计制造同类产品的经验,根据水泥等行业使用工况恶劣、低速重载、安全可靠、使用寿命长等特点,专门精心设计用于水泥磨、煤磨等用途的边缘传动机减速器。 MBY系列减速器采用单级减速、带专用油站、齿轮全部为硬齿面,精度达6级(GB/T10095—2001)以上,高可靠度设计,设计寿命为持久寿命,与国内外同类产品相比,具有体积小、重量轻、外形简洁大方、操作简单、维修方便、安全可靠、使用寿命长等特点。
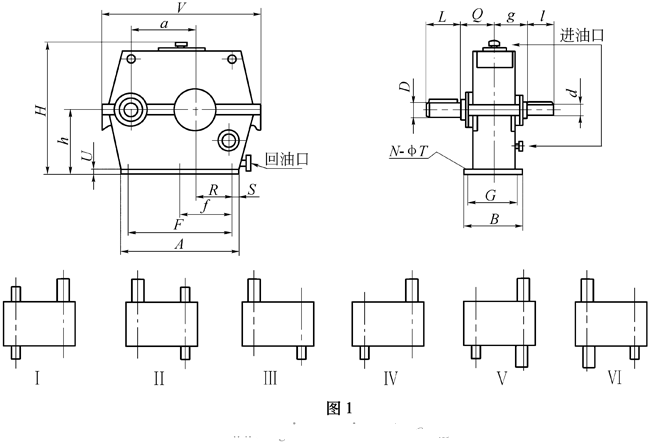
减速器外形尺寸及装配形式

MBY系列边缘传动磨机减速器外形尺寸及装配形式
|
型号
|
输入轴
|
输出轴
|
|||||||||||||
|
i=4
|
i=4.5~5
|
i=5.6~6.3
|
i=7.1
|
||||||||||||
|
g
|
d
|
l
|
g
|
d
|
l
|
g
|
d
|
l
|
g
|
d
|
l
|
Q
|
D
|
L
|
|
|
MBY400
|
270
|
120
|
200
|
270
|
100
|
200
|
270
|
90
|
180
|
270
|
80
|
140
|
270
|
160
|
200
|
|
MBY450
|
300
|
120
|
220
|
300
|
120
|
200
|
300
|
100
|
180
|
300
|
90
|
160
|
300
|
180
|
220
|
|
MBY500
|
320
|
140
|
240
|
320
|
140
|
200
|
320
|
110
|
180
|
320
|
100
|
160
|
320
|
180
|
240
|
|
MBY560
|
340
|
160
|
250
|
340
|
160
|
200
|
340
|
120
|
200
|
340
|
110
|
180
|
340
|
200
|
260
|
|
MBY630
|
370
|
180
|
250
|
370
|
160
|
230
|
370
|
130
|
200
|
370
|
120
|
180
|
370
|
220
|
300
|
|
MBY710
|
390
|
200
|
280
|
390
|
160
|
250
|
390
|
150
|
220
|
390
|
140
|
200
|
390
|
260
|
340
|
|
MBY800
|
425
|
220
|
300
|
425
|
180
|
260
|
425
|
18/0
|
240
|
425
|
160
|
200
|
425
|
300
|
380
|
|
MBY900
|
455
|
240
|
340
|
455
|
200
|
260
|
455
|
180
|
260
|
455
|
180
|
220
|
455
|
300
|
400
|
|
MBY1000
|
485
|
260
|
380
|
485
|
240
|
280
|
485
|
200
|
280
|
485
|
200
|
250
|
485
|
320
|
420
|
|
MBY1100
|
520
|
280
|
400
|
520
|
260
|
300
|
520
|
220
|
300
|
520
|
220
|
280
|
520
|
360
|
440
|
|
型号
|
a
|
V
|
H
|
h
|
U
|
A
|
F
|
f
|
R
|
S
|
N
|
T
|
B
|
G
|
油站型号
|
平均重量(Kg)
|
|
MBY400
|
400
|
1050
|
850
|
400
|
50
|
820
|
700
|
/
|
275
|
60
|
4
|
27
|
450
|
390
|
YZ25
|
1450
|
|
MBY450
|
450
|
1160
|
950
|
450
|
50
|
900
|
780
|
390
|
305
|
60
|
4
|
27
|
510
|
450
|
YZ25
|
1950
|
|
MBY500
|
500
|
1260
|
1050
|
500
|
50
|
980
|
840
|
420
|
330
|
70
|
6
|
33
|
550
|
480
|
YZ40
|
2600
|
|
MBY560
|
560
|
1400
|
1170
|
560
|
55
|
1080
|
940
|
470
|
370
|
70
|
6
|
33
|
590
|
520
|
YZ40
|
3050
|
|
MBY630
|
630
|
1560
|
1310
|
630
|
55
|
1200
|
1060
|
530
|
420
|
70
|
6
|
39
|
640
|
57
|
YZ63
|
3400
|
|
MBY710
|
710
|
1750
|
1470
|
710
|
55
|
1350
|
1190
|
595
|
470
|
80
|
6
|
39
|
690
|
620
|
YZ63
|
4900
|
|
MBY800
|
800
|
2030
|
1650
|
800
|
70
|
1480
|
1280
|
640
|
500
|
100
|
6
|
39
|
760
|
680
|
YZ63
|
5800
|
|
MBY900
|
900
|
2140
|
1850
|
900
|
70
|
1650
|
1450
|
725
|
575
|
100
|
6
|
45
|
820
|
730
|
YZ63
|
8500
|
|
MBY1000
|
1000
|
2360
|
2050
|
1000
|
90
|
1820
|
1620
|
F/3
|
630
|
100
|
8
|
45
|
880
|
790
|
YZ125
|
9250
|
|
MBY1100
|
1100
|
2570
|
2250
|
1100
|
90
|
1980
|
1780
|
F/3
|
695
|
100
|
8
|
45
|
950
|
860
|
YZ125
|
11800
|
|
|
|
|
|
|
|
|
|
|
|
|
|
|
|
|
|
|
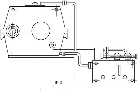
减速器与稀油站连接图
MBY系列边缘传动磨机减速器与稀油站连接图

留言咨询













