全国免费热线
0510-8321 7886
0510-8321 7886
电话:0510-83217886 0510-83217186 0510-68771119 0510-68771110 传真:0510-83206086 地 址:无锡市滨湖区梅园

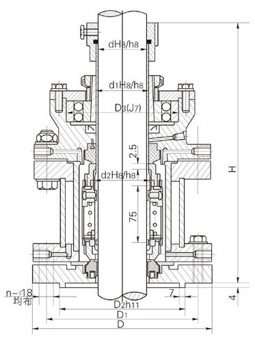
结构:双端面、大弹簧、平衡型
压力:≤4MPa
温度:0~300℃
转速:≤500转/分
轴径:30-95mm
适用介质:易燃、易爆、腐蚀介质
|
符号
|
dh8/h8
|
d1h8/h8
|
d2h8/h8
|
D
|
D1
|
D2h11
|
D3J7
|
H
|
N-Φ
|
|
|
轴径
|
30
|
30
|
40
|
45
|
185
|
150
|
116
|
85
|
305
|
6-Φ18
|
|
40
|
40
|
50
|
55
|
225
|
170
|
135
|
100
|
317
|
6-Φ18
|
|
|
|
50
|
60
|
65
|
235
|
200
|
164
|
120
|
330
|
8-Φ18
|
|
|
65
|
65
|
75
|
80
|
235
|
200
|
164
|
150
|
345
|
8-Φ18
|
|
|
80
|
80
|
90
|
95
|
260
|
225
|
188
|
180
|
361
|
12-Φ18
|
|
|
95
|
95
|
110
|
115
|
290
|
255
|
220
|
215
|
378
|
16-Φ18
|
|
留言咨询

















