全国免费热线
0510-8321 7886
0510-8321 7886
电话:0510-83217886 0510-83217186 0510-68771119 0510-68771110 传真:0510-83206086 地 址:无锡市滨湖区梅园

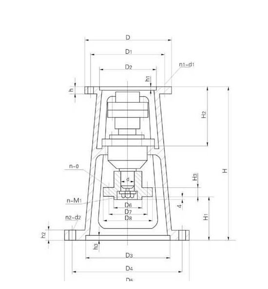
TJ型机架、下装JA型联轴器,主要参数及尺寸
| 机架型号 | 减速机型号 | 输入端接口 | 输出端接口 | H | H1 | H2 | H3 | d | D6 | D7 | D8 | n-φ | n-M1 | ||||||||||
| D | D1 | D2 | h | h1 | n1-d1 | D3 | D4 | D5 | h2 | h3 | n2-d2 | ||||||||||||
| TJ1 | B1 | 230 | 200 | 170 | 20 | 6 | 6-12 | 220 | 270 | 305 | 22 | 7 | 4-24 | 514 | 201 | 185 | 15 | 35 | 60 | 110 | 140 | 4-13.5 | 1-10 |
| TJ2 | B1 | 230 | 200 | 170 | 20 | 6 | 6-12 | 250 | 300 | 335 | 22 | 7 | 4-24 | 517 | 197 | 190 | 15 | 35 | 60 | 110 | 140 | 4-13.5 | 1-10 |
| TJ2 | B2 | 260 | 230 | 200 | 20 | 7 | 6-13 | 250 | 300 | 335 | 25 | 7 | 4-24 | 530 | 176 | 210 | 20 | 45 | 85 | 120 | 160 | 4-13.5 | 1-12 |
| TJ3 | B2 | 260 | 230 | 200 | 20 | 7 | 6-13 | 295 | 350 | 392 | 26 | 7 | 4-26 | 560 | 206 | 210 | 20 | 45 | 85 | 120 | 160 | 4-13.5 | 1-12 |
| TJ3 | B3 | 340 | 310 | 270 | 20 | 7 | 6-13 | 295 | 350 | 392 | 26 | 7 | 4-26 | 560 | 191 | 210 | 20 | 45 | 85 | 120 | 160 | 4-13.5 | 1-12 |
| TJ4 | B3 | 340 | 310 | 270 | 20 | 7 | 6-13 | 345 | 400 | 442 | 26 | 7 | 4-26 | 675 | 245 | 250 | 22 | 55 | 100 | 150 | 180 | 4-18 | 1-16 |
| TJ5 | B3 | 340 | 310 | 270 | 22 | 7 | 6-13 | 390 | 450 | 498 | 26 | 7 | 4-30 | 680 | 250 | 250 | 22 | 55 | 100 | 150 | 180 | 4-18 | 1-16 |
| TJ6 | B4 | 400 | 360 |
320 316 |
22 | 7 | 8-16 | 435 | 500 | 548 | 30 | 7 | 8-30 | 736 | 276 | 250 | 28 | 70 | 110 | 165 | 200 | 4-18 | 1-16 |
| TJ7 | B5 | 490 | 450 | 400 | 26 | 10 | 12-18 | 440 | 550 | 600 | 30 | 10 | 12-22 | 805 | 261 | 296 | 36 | 90 | 150 | 190 | 230 | 6-18 | 2-12 |
| TJ8 | B6 | 580 | 520 | 460 | 28 | 10 | 12-22 | 500 | 550 | 600 | 32 | 10 | 12-22 | 820 | 209 | 362 | 36 | 100 | 140 | 200 | 240 | 6-18 | 2-16 |
| TJ9 | B7 | 650 | 590 | 520 | 30 | 12 | 12-22 | 560 | 650 | 700 | 40 | 10 | 12-27 | 955 | 204 | 420 | 36 | 110 | 150 | 250 | 290 | 6-27 | 3-16 |
| TJ10 | B8 | 880 | 800 | 680 | 45 | 12 | 12-38 | 720 | 810 | 880 | 45 | 10 | 20-27 | 1200 | 304 | 550 | 40 | 130 | 180 | 290 | 350 | 8-27 | 3-16 |
留言咨询


















