全国免费热线
0510-8321 7886
0510-8321 7886
电话:0510-83217886 0510-83217186 0510-68771119 0510-68771110 传真:0510-83206086 地 址:无锡市滨湖区梅园

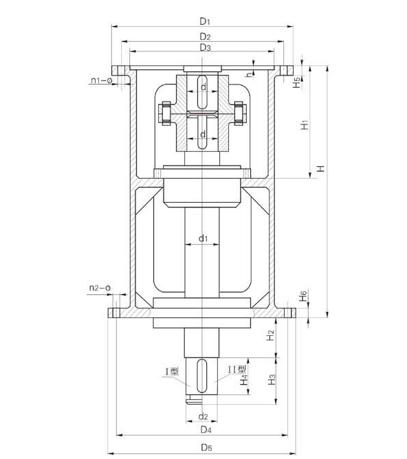
本系列机架适用于常压容器,双支点轴承,搅拌轴旋转平稳与其它双支点相比较结构紧凑外型尺寸小,标定型号以减速机输出轴直径为主参数,上联轴器采用HL型弹性柱销联轴器。由本公司配套供应。
SJA型支点机架主要参数及尺寸
| 机架型号 | 减速机 | D1 | D2 | D3 | n1-φ | D4 | D5 | n2-φ | d | d1 | d2 | h | H | H1 | H2 | H3 | H4 | H5 | H6 |
| SJA35 | B1 | 230 | 200 | 170 | 6-12 | 300 | 335 | 4-24 | 35 | 45 | 35 | 5 | 517 | 190 | 200 | 85 | 53 | 18 | 20 |
| SJA45 | B2 | 260 | 230 | 200 | 6-12 | 350 | 392 | 4-26 | 45 | 50 | 45 | 5 | 560 | 210 | 200 | 100 | 68 | 20 | 22 |
| SJA55 | B3 | 340 | 310 | 270 | 6-13.5 | 400 | 442 | 4-26 | 55 | 60 | 55 | 6 | 675 | 250 | 250 | 100 | 80 | 20 | 24 |
| SJA70 | B4 | 400 | 360 | 320(316) | 8-16 | 500 | 548 | 8-30 | 70 | 75 | 70 | 6 | 736 | 250 | 250 | 130 | 105 | 22 | 26 |
| SJA90 | B5 | 490 | 450 | 400 | 12-18 | 550 | 600 | 12-22 | 90 | 100 | 90 | 7 | 805 | 296 | 300 | 170 | 130 | 26 | 28 |
| SJA100 | B6 | 580 | 520 | 460(455) | 12-22 | 550 | 600 | 12-22 | 100 | 110 | 100 | 10 | 820 | 362 | 300 | 170 | 140 | 30 | 30 |
| SJA110 | B7 | 650 | 590 | 520 | 12-22 | 650 | 700 | 12-27 | 110 | 120 | 110 | 12 | 955 | 420 | 350 | 200 | 148 | 35 | 40 |
| SJA130 | B8 | 880 | 800 | 680 | 12-38 | 810 | 880 | 20-27 | 130 | 140 | 130 | 12 | 1200 | 550 | 400 | 225 | 208 | 55 | 55 |
注:1、Ⅰ型为夹壳式联轴器联接
2、Ⅱ型为JA型联轴器联接
3、如用户对输出轴长度有特殊要求,请在订货时说明。
留言咨询


















