全国免费热线
0510-8321 7886
0510-8321 7886
电话:0510-83217886 0510-83217186 0510-68771119 0510-68771110 传真:0510-83206086 地 址:无锡市滨湖区梅园
一、产品特点:
1、全封闭全寿命机电一体化设计 2、硬齿面斜齿传动,低噪声、高效率
3、整体结构紧凑、重量轻、适应性强 4、可附加电磁制动器
二、型号标记:

注:箱体材料:L—铝合金、H—铸铁 安装型式:W—底脚式、F—法兰式
标志示例:
A GHWZ40-50
双轴铸铁箱体卧式,40机型号,减速比50
B GLF28-550-50
立式名合金箱体、28机型号、直联专用电机55W,减速比50。
C GLW28K-80B85-30
卧式铝合金箱体,28机型号,输入端IEC标准电机法兰80B5,减速比30
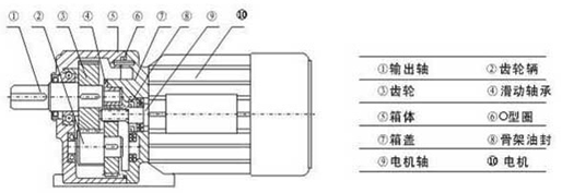
三、结构图例:

G系列封闭式齿轮减速机技术参数
|
功率KW
|
机型号
|
减速机
|
输出转矩N.m
|
输出转速rpm
|
|
0.12
0.18
|
18
|
3
|
3.4
|
460.0
|
|
5
|
5.6
|
276.0
|
||
|
10
|
11.2
|
138.0
|
||
|
15
|
16.9
|
92.0
|
||
|
20
|
22.5
|
69.0
|
||
|
25
|
28.1
|
55.2
|
||
|
30
|
33.8
|
46.0
|
||
|
40
|
45.1
|
34.5
|
||
|
50
|
56.3
|
27.6
|
||
|
22
|
60
|
67.6
|
23.0
|
|
|
80
|
90
|
17.3
|
||
|
100
|
112
|
13.8
|
||
|
120
|
135
|
11.5
|
||
|
160
|
180
|
8.7
|
||
|
200
|
225
|
6.9
|
||
|
0.25
0.37
|
22
|
3
|
7
|
460.0
|
|
5
|
11.6
|
276.0
|
||
|
10
|
23.1
|
138.0
|
||
|
15
|
34.7
|
82.0
|
||
|
20
|
46.3
|
69.0
|
||
|
25
|
57.9
|
55.2
|
||
|
30
|
69.5
|
46.0
|
||
|
40
|
92.6
|
34.5
|
||
|
50
|
115
|
27.6
|
||
|
28
|
60
|
139
|
23.0
|
|
|
80
|
185
|
17.3
|
||
|
100
|
231
|
13.8
|
||
|
120
|
277
|
11.5
|
||
|
130
|
350
|
8.7
|
||
|
200
|
350
|
6.9
|
||
|
0.55
0.75
|
28
|
3
|
14
|
466.7
|
|
5
|
23.4
|
280.0
|
||
|
10
|
46.9
|
140.0
|
||
|
15
|
70.4
|
93.3
|
||
|
20
|
93.9
|
70.0
|
||
|
25
|
117
|
56.0
|
||
|
30
|
140
|
46.7
|
||
|
40
|
187
|
35.0
|
||
|
4
|
50
|
3
|
75
|
478
|
|
5
|
125
|
287.0
|
||
|
10
|
250
|
143.5
|
||
|
15
|
375
|
95.7
|
||
|
20
|
500
|
71.8
|
||
|
25
|
626
|
57.4
|
||
|
30
|
751
|
47.8
|
||
|
40
|
1001
|
35.9
|
||
|
50
|
1252
|
28.7
|
||
|
0.12
0.18
|
18/28
|
300
|
315
|
4.6
|
|
375
|
350
|
3.7
|
||
|
450
|
350
|
3.1
|
||
|
22/32
|
600
|
500
|
2.3
|
|
|
750
|
500
|
1.8
|
||
|
900
|
500
|
1.5
|
||
|
1200
|
500
|
1.2
|
||
|
80
|
375
|
17.5
|
||
|
100
|
469
|
14.0
|
||
|
120
|
550
|
11.7
|
||
|
160
|
550
|
8.8
|
||
|
200
|
550
|
7.0
|
||
|
1.1
1.5
|
32
|
3
|
28.1
|
470.0
|
|
5
|
46.9
|
282.0
|
||
|
10
|
939
|
141.0
|
||
|
15
|
140
|
94.0
|
||
|
20
|
187
|
70.5
|
||
|
25
|
234
|
56.0
|
||
|
30
|
287
|
47.0
|
||
|
40
|
375
|
35.3
|
||
|
50
|
469
|
28.2
|
||
|
|
60
|
563
|
23.5
|
|
|
80
|
750
|
17.6
|
||
|
100
|
820
|
14.1
|
||
|
120
|
820
|
11.8
|
||
|
160
|
820
|
8.8
|
||
|
200
|
820
|
7.1
|
||
|
|
120
|
1120
|
11.8
|
|
|
160
|
1320
|
8.8
|
||
|
200
|
1320
|
7.1
|
||
|
0.25
0.37
|
40
|
3
|
56.3
|
470.0
|
|
5
|
93.9
|
282.0
|
||
|
10
|
187
|
141.0
|
||
|
3
|
56.3
|
470.0
|
||
|
5
|
939
|
282.0
|
||
|
10
|
187
|
141.0
|
||
|
15
|
281
|
94.0
|
||
|
20
|
375
|
70.5
|
||
|
25
|
469
|
56.4
|
||
|
30
|
563
|
47.0
|
||
|
40
|
751
|
35.3
|
||
|
50
|
50
|
820
|
28.2
|
|
|
60
|
1126
|
23.5
|
||
|
80
|
1320
|
17.6
|
||
|
100
|
132
|
14.1
|
||
|
0.25
0.37
|
22/32
28/40
|
300
|
500
|
4.6
|
|
375
|
500
|
3.7
|
||
|
450
|
500
|
3.1
|
||
|
600
|
820
|
2.3
|
||
|
750
|
820
|
1.8
|
||
|
900
|
820
|
1.5
|
||
|
1200
|
820
|
1.2
|
||
|
0.55
0.75
|
28/40
|
300
|
820
|
4.7
|
|
375
|
820
|
3.8
|
||
|
450
|
820
|
3.1
|
||
|
32/50
|
600
|
1320
|
2.4
|
|
|
750
|
1320
|
1.9
|
||
|
900
|
1320
|
1.6
|
||
|
1200
|
1320
|
1.2
|
法兰式外形安装尺寸

|
机型号
|
装配电机
机型
|
安装尺寸
|
轴伸尺寸
|
外形尺寸
|
重量
|
|||||||||||||||||||
|
A
|
B
|
P
|
H
|
S
|
Z
|
L1
|
L2
|
D(h6)
|
U
|
T
|
D1(h6)
|
x
|
x1
|
U1
|
T1
|
V
|
K
|
G
|
W
|
G
|
I
|
kg
|
||
|
18
|
63
|
16.5
|
40
|
110
|
85
|
9
|
45
|
30
|
25
|
18
|
6
|
20.5
|
14
|
25
|
22
|
5
|
16
|
|
105
|
130
|
134
|
64
|
10
|
7.5
|
|
22
|
63、71
|
18
|
65
|
130
|
90
|
11
|
55
|
40
|
35
|
22
|
6
|
24.5
|
14
|
25
|
22
|
5
|
16
|
|
125
|
140
|
154
|
90
|
12
|
10
|
|
28
|
71、80
|
22
|
90
|
140
|
110
|
11
|
65
|
45
|
40
|
28
|
8
|
31
|
16
|
30
|
25
|
5
|
18
|
|
142
|
165
|
170
|
120
|
16
|
15
|
|
32
|
80、90
|
27
|
130
|
170
|
130
|
13
|
70
|
55
|
50
|
32
|
10
|
35
|
19
|
30
|
25
|
6
|
21.5
|
|
167
|
198
|
203
|
164
|
18
|
32
|
|
40
|
90、100
|
32.5
|
150
|
210
|
150
|
18
|
93
|
65
|
60
|
40
|
12
|
43
|
24
|
35
|
30
|
8
|
27
|
125
|
195
|
227
|
255
|
200
|
20
|
45
|
|
50
|
100、112
|
40
|
160
|
230
|
170
|
18
|
105
|
75
|
70
|
50
|
14
|
53.5
|
35
|
50
|
45
|
10
|
38
|
125
|
227
|
267
|
285
|
210
|
25
|
73
|

|
机型号
|
装配电机
机型
|
安装尺寸
|
轴伸尺寸
|
外形尺寸
|
重量
|
|||||||||||||||||||
|
A
|
B
|
P(h7)
|
H
|
S
|
N
|
L1
|
L2
|
D(h6)
|
U
|
T
|
D1(h6)
|
x
|
x1
|
U1
|
T1
|
V
|
K
|
G
|
W
|
G
|
I
|
kg
|
||
|
18
|
63
|
16.5
|
170
|
145
|
80.5
|
9
|
3
|
30
|
25
|
18
|
6
|
20.5
|
14
|
25
|
22
|
5
|
16
|
|
105
|
158
|
33
|
154
|
12
|
7.5
|
|
22
|
36、71
|
18
|
185
|
148
|
79.5
|
11
|
4
|
40
|
35
|
22
|
6
|
24.5
|
14
|
25
|
22
|
5
|
16
|
|
125
|
165
|
44
|
165
|
12
|
10
|
|
28
|
71、80
|
22
|
215
|
170
|
94
|
11
|
4
|
45
|
40
|
28
|
8
|
31
|
16
|
30
|
25
|
5
|
18
|
|
142
|
193
|
49
|
186
|
16
|
15
|
|
32
|
80、90
|
27
|
250
|
180
|
108
|
13
|
4
|
55
|
50
|
32
|
10
|
35
|
19
|
30
|
25
|
6
|
21.5
|
|
167
|
230
|
59
|
213
|
18
|
32
|
|
40
|
90、100
|
32.5
|
310
|
231
|
300
|
18
|
5
|
65
|
60
|
40
|
12
|
43
|
24
|
35
|
30
|
8
|
27
|
125
|
195
|
283
|
70
|
262
|
20
|
45
|
|
50
|
100、112
|
40
|
360
|
270
|
150
|
18
|
5
|
75
|
70
|
50
|
14
|
53.5
|
35
|
50
|
45
|
10
|
38
|
125
|
227
|
331
|
80
|
302
|
25
|
73
|
法兰式外形安装尺寸

|
机型号
|
装配电机
机型
|
安装尺寸
|
轴伸尺寸
|
外形尺寸
|
重量
|
|||||||||||||||||||
|
A
|
B
|
P(h7)
|
H
|
S
|
N
|
L1
|
L2
|
D(h6)
|
U
|
T
|
D1(h6)
|
x
|
x1
|
U1
|
T1
|
V
|
K
|
G
|
W
|
G
|
I
|
kg
|
||
|
18/28
|
63
|
5.5
|
90
|
140
|
110
|
11
|
65
|
45
|
40
|
28
|
8
|
31
|
16
|
30
|
25
|
5
|
18
|
|
214
|
165
|
170
|
120
|
16
|
20
|
|
22/32
|
63、71
|
9
|
130
|
170
|
130
|
13
|
70
|
55
|
50
|
32
|
10
|
35
|
19
|
30
|
25
|
6
|
21.5
|
|
248
|
198
|
203
|
164
|
18
|
40
|
|
28/40
|
71、80
|
10.5
|
150
|
210
|
150
|
18
|
93
|
65
|
60
|
40
|
12
|
43
|
24
|
35
|
30
|
8
|
27
|
|
288
|
227
|
255
|
200
|
20
|
62
|
|
32/50
|
80、90
|
13
|
160
|
230
|
170
|
18
|
105
|
75
|
70
|
50
|
14
|
54
|
35
|
50
|
45
|
10
|
38
|
|
335
|
267
|
285
|
210
|
25
|
100
|
双组立式底脚外形安装尺寸

|
机型号
|
装配电机
机型
|
安装尺寸
|
轴伸尺寸
|
外形尺寸
|
重量
|
|||||||||||||||||||
|
A
|
B
|
P(h7)
|
H
|
S
|
N
|
L1
|
L2
|
D(h6)
|
U
|
T
|
D1(h6)
|
x
|
x1
|
U1
|
T1
|
V
|
K
|
G
|
W
|
G
|
I
|
kg
|
||
|
18/28
|
63
|
5.5
|
215
|
170
|
94
|
11
|
4
|
45
|
40
|
28
|
8
|
31
|
16
|
30
|
25
|
5
|
18
|
|
214
|
193
|
49
|
186
|
16
|
20
|
|
22/32
|
63、71
|
9
|
250
|
180
|
108
|
13
|
4
|
55
|
,
50
|
32
|
10
|
35
|
19
|
30
|
25
|
6
|
21.5
|
|
248
|
230
|
50
|
213
|
18
|
40
|
|
28/40
|
71、80
|
10.5
|
310
|
230
|
130
|
18
|
5
|
65
|
60
|
40
|
12
|
43
|
24
|
35
|
30
|
8
|
27
|
|
288
|
283
|
70
|
262
|
20
|
62
|
|
32/50
|
80、90
|
13
|
360
|
270
|
150
|
18
|
5
|
75
|
70
|
50
|
14
|
53.5
|
35
|
50
|
45
|
10
|
38
|
|
335
|
331
|
80
|
302
|
25
|
100
|
留言咨询













